您现在的位置:首页 > 资料下载 > W08型文丘里氏减温减压装置

W08型文丘里氏减温减压装置

  • 发布日期:2015/11/7      浏览次数:1433
  • 提 供 商: 必一体育bsport 资料大小: JPG
    图片类型: JPG 下载次数: 179
    资料类型: JPG 浏览次数: 1433
    相关产品:
    详细介绍: 文件下载    图片下载    

                          W08型文丘里氏减温减压装置

                           必一体育bsport

    (一)W08型文丘里氏减温减压装置结构特点
    之前介绍自力式调节阀作用,现在介绍文丘里式减温装置采用美国高品牌honeywell(霍尼韦尔)过程调节器,采样减温后温度,调节给水调节阀、调节减温水经喷咀雾化喷入混合管道内达到降低蒸汽温度的目的。
    (二)W08型文丘里氏减温减压装置主要性能指标
    1.减温装置出口流量Q的变化范围为10%~99%;
    2.出口温度t2的变化范围为t2±5℃;
    3.装置正常运行时,在距管壁1米处噪音音级不大于85dBA。
    (三) 订货需知
    订货时请提供下列资料:
    1.出口蒸汽流量Q;
    2.进口(一次)新蒸汽压力P1、温度T1;
    3.出口(二次)蒸汽压力P2、温度T2;
    4.减温水压力Pb、温度Tb
    5.控制方式:是否配热控柜;
    6.注明执行机构是电动或是气动薄膜式。

    文丘里型减温装置
    序号物品名称规格型号单位数量报价(元)申报范围备  注
    1文丘里型减温装置蒸汽流量0-25t/h 减温后温度120℃、0.2Mpa 材质SS316L 带文丘里管道、控制系统、电动阀、电动机等成套元件1
    九体六效降膜蒸发
    2文丘里型减温装置蒸汽流量0-10t/h 减温后温度120℃、0.2Mpa 材质SS316L 带文丘里管道、控制系统、电动阀、电动机等成套元件1
    MVR降膜蒸发用
    文丘里型减温装置
    序号物品名称规格型号单位数量报价(元)申报范围备  注
    1文丘里型减温装置蒸汽流量0-35t/h 减温后温度120℃、0.2Mpa 材质SS316L 带文丘里管道、控制系统、电动阀、电动机等成套元件1
    多效蒸发
    2文丘里型减温装置蒸汽流量0-10t/h 减温后温度120℃、0.2Mpa 材质SS316L 带文丘里管道、控制系统、电动阀、电动机等成套元件1
    MVR
    1、 技术参数:
    出口蒸汽流量:Q=0~25T/h
    减温前蒸汽参数:P=0.2Mpa      T=175℃
    减温后蒸汽参数:P=0.2Mpa      T=120℃
    减温水压力: P=1.0Mpa          T=82~90℃
    2、出口蒸汽流量:Q=0~10T/h
    减温前蒸汽参数:P=0.2Mpa      T=175℃
    减温后蒸汽参数:P=0.2Mpa      T=120℃
    减温水压力: P=1.0Mpa          T=82~90℃
    设计、制造标准:



















    (1) NB/T47033-2013减温减压装置 (2) JB/T3595-2002 电站阀门 一般要求; (3) JB/T9092-1999 阀门的检验与试验; 
    (4) JB/T1613-1993 锅炉受压元件焊接技术条件; (5) JB/T1614-1994 锅炉受压元件焊接接头机械性能试验; 
    (6) JB/T9625-1999 锅炉管道附件承压铸钢件技术条件; (7) JB/T9626-1999 锅炉锻件技术条件;
     (8) GB/T3323-2005 钢熔化焊对接接口射线照相和质量等级; (9) GB10869-2005 电站调节阀门技术条件; 
    (10) GB10868-2005 电站减温减压阀技术条件; (11) GB3087-2008 低中压锅炉用无缝钢管 
    (12) GB5310-2008 高压锅炉用无缝钢管 ;(13) JB/T3375-1991 锅炉原材料入厂检验 ;(14) JB/T9624-1999 电站安全阀技术条件 ;
    (15) JB/T2636-1994 锅炉受压元件焊接接头金相和断口检验方法 (16) JB4708-2000 钢制压力容器焊接工艺评定 。
    检验标准:



















    射线检验:JB4730—2005   拍片质量不低于AB级,焊缝质量不低于I级



















    超声波检验:JB4730—2005 焊缝质量不低于I级



















    水压试验符合图样要求,保压时间10min,要求无渗漏无结构损伤。



















    投标方所提供的减温装置是目前国内市场的技术,经济合理,成熟可靠的产品之一。具有较高的灵活性,能够适合招标方主机运行方式的需要,也完够满足和适应启、停与变负荷的要求。对设备或材料有影响的一切制造、生产、试验及检查操作,都要接受甲方的监督。
    资质要求:制造厂家必须具备特种设备压力管道元件制造资质。减温装置B级,同时必须具备调节阀*资质。



















    1、减温装置将*按NB/T47033-2013《减温减压装置》设计、制造和检验,其调节范围大,产品性能超过机械部标准。



















    2、减温装置调节范围为30%~99%的出口蒸汽流量,并且在保证二次参数条件下常年连续稳定运行。使用寿命三十年。



















    3、减温装置出口蒸汽压力偏差范围±0.02Mpa。



















    4、减温装置出口蒸汽温度偏差范围±5℃。



















    5、装置正常运行时,在调节阀下游一米,同时距管壁一米处测其噪音,噪音音级不大于85分贝。



















    6、乙方随主设备所供的就地仪表和监测元件必须符合标准,且规格要齐全,检测元件的选择符合甲方监视控制系统的要求。



















    7、设备结构紧凑,技术合理,密封性强,动作灵活,便于检修。



















    8、出口蒸汽压力、温度的调节精度不低于1.5级。执行机构满足控制要求,并能满足现场操作。



















    1、结构特点
          1)减温雾化系统主要采用文丘里氏管+笛型喷嘴。电动给水调节阀根据二次温度的变化,调节给水量,从而达到减温目的。可调比3:1
          2)  采用文丘里氏管结构压力损失小(<0.05MPa)、噪音低、无传动部件、无卡阻现象;笛型喷嘴可随意拆装,便于维修。
          3)  合管内加有衬管,避免热冲击,保护外管。
          4)减温给水调节系统采用直行程单座调节阀(或V型调节阀)+节流装置,既减小了阀门的泄漏量,又能合理分配给水系统上的压差。同一口径,不同的流量系数CV值可供选择,使温度调节系统调节灵敏度及度大大提高。
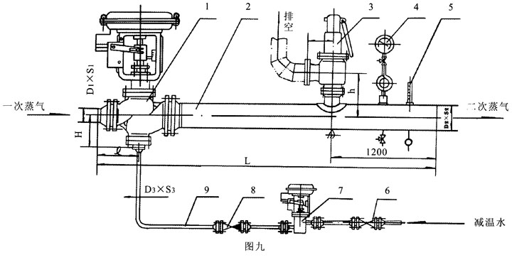
    2、系统图


    具体介绍:
    1)、减温雾化系统主要采用文丘里氏管+笛型喷嘴。电动给水调节阀根据二次温度的变化,调节给水量,从而达到减温目的。
    2)、采用文丘里氏管结构压力损失小(<0.05MPa)、噪音低、无传动部件、无卡阻现象;笛型喷嘴可随意拆装,便于维修。
    3)、混合管内加有衬管,避免热冲击,保护外管。
    4)、减温给水调节系统采用直行程单座调节阀(或V型调节阀)+节流装置,既减小了阀门的泄漏量,又能合理分配给水系统上的压差。同一口径,不同的流量系数CV值可供选择,使温度调节系统调节灵敏度及度大大提高。
    主要性能指标
    性能指标
    1)、进口蒸汽压力P1≤5.4MPa,温度T1≤485℃
    2)、出口流量的变化范围:30%Q~99%Q,如有特殊要求,可与本公司技术处协商另定。
    3)、出口蒸汽压力P2的调节精度±0.02MPa。
    4)、出口蒸汽温度T2的调节精度±3℃
    5)、装置正常运行时,在减温减压阀下游一米,同时距管壁一米处测其噪音,噪音音级不大于80分贝。
    供货范围


    供货范围为 标志以内,主要有:
     
    1)、减温系统:给水调节阀;
    2)、管路系统:蒸汽管道、过渡管、减温水管等;
    3)、配套附件:必一体育bsport生产相关的产品有:减压阀(气体减压阀,可调式减压阀,截止阀、双金属温度计及接管、压力表及三通阀、弯道、接头、法兰、衬垫、螺栓、螺母、垫圈等。
    产品系列图